標準和制造讓世界重新認識閩旋之六:閩旋虹吸器 |
| 發布日期: 2017-08-23 瀏覽次數: 7990 新聞編輯: |
|
虹吸器是一種利用虹吸原理將烘缸內冷凝水排出從而提升烘缸表面溫度的烘缸排水裝置。市場上生產的虹吸器分為兩大類,一類是固定式虹吸器,一類是旋轉式虹吸器。固定式虹吸器即固定在烘缸外的某一點上,不隨烘缸一起旋轉;旋轉式虹吸器固定在烘缸內部,隨烘缸一起旋轉。 固定式虹吸器幾乎能夠應用在所有車速在100米/分鐘以上的設備上,懸臂固定式虹吸器還能夠應用在開式齒輪和閉式齒輪傳動的紙機上,能夠在最大程度上減小設備的振動和偏轉,使烘缸的加熱效果更上一層樓。 本公司能夠提供各種形式的旋轉式虹吸器,包括常規簡單式虹吸器和低壓差旋轉式虹吸器。旋轉式虹吸器通常適應于中速紙機,由于虹吸管的吸嘴與缸壁間的間隙很小,形成的水環厚度很薄,因此熱傳導效果較好。本公司生產的旋轉式虹吸器其組裝件少,在虹吸器的進口處有一個不銹鋼吸嘴與垂直冷凝水管焊接在一起,而在另一端有一個彈簧支撐的壓力盤使虹吸器定位,以下為本公司常見的虹吸器結構: 一、固定式虹吸器 1.?軟管式虹吸器 軟管式虹吸器是根據烘筒特點而與旋轉接頭配套使用的;虹吸管是由撓性較好的不銹鋼金屬軟管制成,依靠自身重量,自由下垂到烘缸底部,因此安裝十分便利。
特點: 1) 軟管結構不受烘缸軸頸大小、烘缸直徑限制,安裝方便; 2) 測算時需考慮軟管撓性下垂度,因受到軟管材料撓性限制,無法控制吸嘴距烘缸內壁距離,容易造成烘缸積水太多或是軟管吸嘴口與烘缸內壁產生摩擦; 3) 虹吸軟管吸水后會造成重量增加,而軟管下垂高度增加,容易造成擦缸,本公司虹吸器建議下垂度為25mm; 下垂的虹吸軟管無鋼性,受冷凝水沖擊后,會發生擺動,偏移吸水位置,適用于低速旋轉設備。
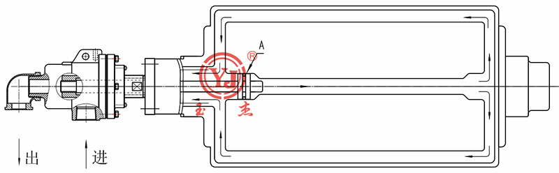
2.內支撐式90°鎖緊式虹吸器 內管支撐固定式虹吸器是一種由內部碳質套管支撐的懸臂固定式虹吸器。堅固的不銹鋼水平管與垂直管使用專有的鎖定機制固定。彎頭包含四部分:主體、擺動體、鎖定螺絲和彈簧。所有組件均采用不銹鋼制成。
特點: 1) 虹吸器結構不受烘缸軸頸大小、烘缸直徑限制,安裝方便; 2) 內支撐水平管,加強了水平管的強度; 3) 可使吸嘴口距烘缸內壁距離至最近; 4) 更好避免可能因水流沖擊被損壞的危險性。
1) 采用鉸鏈連接,方便安裝、易維護; 2) 兩肘接之間采用經過精磨加工的球頭與之相接的內孔一線密封,加之緊定彈簧使兩肘接間,形成了良好的密封; 3) 適用于低速旋轉設備。 4.彈簧緊鎖式彎頭虹吸器
特點: 1) 全部采用不銹鋼設計,制造強度高; 2) 采用鉸鏈結構,不銹鋼彈簧鎖定,安裝時可以伸直; 3) 可直接從烘缸軸頸內孔中安裝,使用方便; 4) 密封采用下垂的凸球面和水平的凹球面密封,密封性能好。 5.彎管式虹吸器
1) 整體采用不銹鋼或碳鋼材料設計,制造強度高; 2) 虹吸器安裝時受到彎度的限制,測算時需考慮烘缸軸徑內孔的大小,該結構適用于烘缸軸徑內孔大、運轉速度低的設備。 二、旋轉式虹吸器 旋轉式虹吸器相比于固定式虹吸器運轉速度更高,由于虹吸管的吸嘴與缸壁間的間隙小,形成的流體介質厚度薄,因此傳導效果較好。 本公司所生產的旋轉式虹吸器類型主要有以下形式:
1
2
3
4
5
6
您的滿意,我們的追求!欲知產品詳情,請撥打電話0595-22201044咨詢。 |


登錄
注冊
English





